发包单位应当依法设置安全生产管理机构或者配备专职安全生产管理人员,对外包工程的安全生产实施管理和监督,违章指挥或者强令承包单位及其从业人员冒险作业的行政处罚
78329035-7-CF-0141
|
汾阳市安监局权力清单和责任清单 |
||||||||
|
权力清单 |
责任清单 |
备注 |
||||||
|
权力类别 |
职权编码 |
职权名称 |
职权依据 |
责任事项 |
追责情形 |
追责依据 |
追责形式 |
|
|
行政 处罚 |
78329035-7-CF-0141 |
发包单位应当依法设置安全生产管理机构或者配备专职安全生产管理人员,对外包工程的安全生产实施管理和监督,违章指挥或者强令承包单位及其从业人员冒险作业的行政处罚。 |
【规章】《非煤矿山外包工程安全管理暂行办法》第三十二条(2015年国家安全生产监督管理总局令第78号修订) |
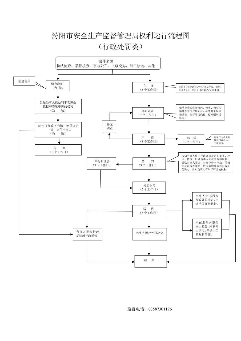
1、立案责任:在检查中或者事故调查过程中发现、或者接到举报、或部门移交的违法案件,予以审查,决定是否立案。 2、调查责任:对已经立案的案件,进行调查时,执法人员不得少于两人,与当事人有直接利害关系的应当回避。调查时应出示执法证件,收集相关证据,允许当事人辩解陈述,执法人员应保守有关秘密。 3、审查责任:对案件违法事实、证据、调查取证程序、法律适用、处罚种类和幅度、当事人陈述和申辩理由等方面进行审查,提出处理意见,拟作出严重违法行为的处罚,由安监部门负责人集体讨论决定。 4、告知责任:在做出行政处罚决定前,制作《行政处罚告知书》,符合听证条件的制作《听证告知书》,通知当事人,当事人享有的陈述、申辩、要求听证的权利。 5、决定责任:根据审理情况决定是否予以行政处罚。依法需要给予行政处罚的,制作《行政处罚决定书》,载明违法事实和证据、处罚依据和内容、缴纳罚款的银行、申请行政复议或提起行政诉讼的途径和期限等内容。 6、送达责任:《行政处罚决定书》按照法定的方式和期限送达当事人。 7、执行责任:监督当事人在决定的期限内,履行生效的行政处罚决定。当事人在法定期限内不申请行政复议或者提起行政诉讼,又不履行的,发出催缴通知,加收罚款滞纳金,再不履行的向人民法院申请强制执行。
|
因不履行或不正确履行行政职责,有下列情形的,行政机关及相关工作人员应承担相应责任: 1、对应当予以制止和处罚的违法行为不予制止、处罚,致使公民、法人或者其他组织的合法权益、公共利益和社会秩序遭受损害的;2、超越、滥用法定职权的;3、主要事实不清、证据不足的;4、适用法律依据错误的;5、行政裁量明显不当的;6、违反法定程序的;7、违法实行检查措施或者执行措施,给公民人身或者财产造成损害、给法人或者其他组织造成损失的;8、不执行对事故责任人员的处理决定,或者擅自改变上级机关批复的对事故责任人员的处理意见的;9、徇私舞弊、包庇纵容违法行为的;10、在行政处罚过程中发生腐败行为的;11、将罚款、没收的违法所得或者财物截留、私分或者变相私分的。
|
1、《行政处罚法》第六十条; 2、《安全生产监管监察职责和行政执法责任追究的规定》(2015年国家安监总局令第77号修订)第十九条; 3、《行政处罚法》第六十条; 4、《安全生产领域违法违纪行为政纪处分暂行规定》(2006年国家安监总局令第11号)第九条; 5、《行政处罚法》第六十一条; 6、《行政机关公务员处分条例》第二十三条; 7、《行政处罚法》第五十八条。
|
一、行政处理 1、诫勉谈话或者责令书面检讨; 2、通报批评; 3、暂扣行政执法证件; 4、责令离岗培训; 5、调离执法岗位 6、取消执法资格; 7、依法追偿部分或者全部行政赔偿费用。 二、行政处分:警告、记过、记大过、降级、撤职、开除。 三、党纪处分:警告、严重警告、撤销党内职务、留党察看、开除党籍。 四、其他法律责任
|
|

