汾阳市安监局权力清单和责任清单 

权力清单 

责任清单 

备注 

权力类别 

职权编码 

职权名称 

职权依据 

责任事项 

追责情形 

追责依据 

追责形式 

 

行政处罚 

78329035-7-CF-0015 

转让、买卖、出租、出借、伪造或者变造危险化学品经营许可证的行政处罚 

【规章】《山西省危险化学品安全管理办法》(山西省政府令84号)第五十五条 

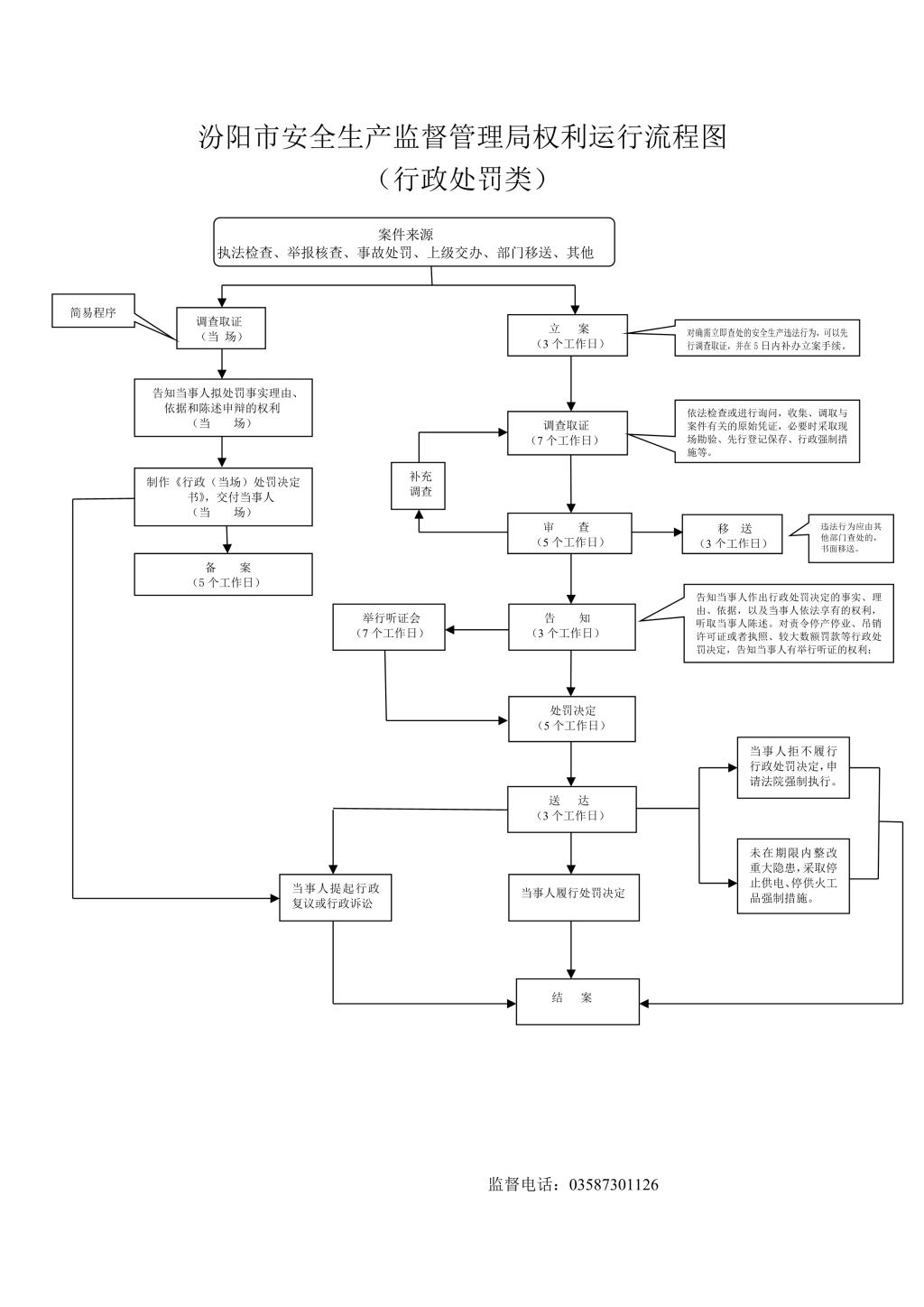
1、立案责任:在检查中或者事故调查过程中发现、或者接到举报、或部门移交的违法案件,予以审查,决定是否立案。 

2、调查责任:对已经立案的案件,进行调查时,执法人员不得少于两人,与当事人有直接利害关系的应当回避。调查时应出示执法证件,收集相关证据,允许当事人辩解陈述,执法人员应保守有关秘密。

3、审查责任:对案件违法事实、证据、调查取证程序、法律适用、处罚种类和幅度、当事人陈述和申辩理由等方面进行审查,提出处理意见,拟作出严重违法行为的处罚,由安监部门负责人集体讨论决定。

4、告知责任:在做出行政处罚决定前,制作《行政处罚告知书》,符合听证条件的制作《听证告知书》,通知当事人,当事人享有的陈述、申辩、要求听证的权利。

5、决定责任:根据审理情况决定是否予以行政处罚。依法需要给予行政处罚的,制作《行政处罚决定书》,载明违法事实和证据、处罚依据和内容、缴纳罚款的银行、申请行政复议或提起行政诉讼的途径和期限等内容。

6、送达责任:《行政处罚决定书》按照法定的方式和期限送达当事人。

7、执行责任:监督当事人在决定的期限内,履行生效的行政处罚决定。当事人在法定期限内不申请行政复议或者提起行政诉讼,又不履行的,发出催缴通知,加收罚款滞纳金,再不履行的向人民法院申请强制执行。

因不履行或不正确履行行政职责,有下列情形的,行政机关及相关工作人员应承担相应责任: 

1、对应当予以制止和处罚的违法行为不予制止、处罚,致使公民、法人或者其他组织的合法权益、公共利益和社会秩序遭受损害的;2、超越、滥用法定职权的;3、主要事实不清、证据不足的;4、适用法律依据错误的;5、行政裁量明显不当的;6、违反法定程序的;7、违法实行检查措施或者执行措施,给公民人身或者财产造成损害、给法人或者其他组织造成损失的;8、不执行对事故责任人员的处理决定,或者擅自改变上级机关批复的对事故责任人员的处理意见的;9、徇私舞弊、包庇纵容违法行为的;10、在行政处罚过程中发生腐败行为的;11、将罚款、没收的违法所得或者财物截留、私分或者变相私分的。

1、《行政处罚法》第六十条; 

2、《安全生产监管监察职责和行政执法责任追究的规定》(2015年国家安监总局令第77号修订)第十九条;

3、《行政处罚法》第六十条;

4、《安全生产领域违法违纪行为政纪处分暂行规定》(2006年国家安监总局令第11号)第九条;

5、《行政处罚法》第六十一条;

6、《行政机关公务员处分条例》第二十三条;

7、《行政处罚法》第五十八条。

一、行政处理 

1、诫勉谈话或者责令书面检讨;

2、通报批评;

3、暂扣行政执法证件;

4、责令离岗培训;

5、调离执法岗位

6、取消执法资格;

7、依法追偿部分或者全部行政赔偿费用。

二、行政处分:警告、记过、记大过、降级、撤职、开除。

三、党纪处分:警告、严重警告、撤销党内职务、留党察看、开除党籍。

四、其他法律责任